
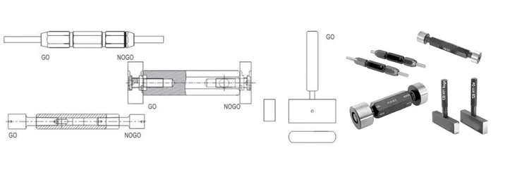
Plain Plug Gauges are used for attribute Inspection of Plain Internal Diameter measurement.
Specification:
Basic Dimensions: ISO 286 Part 1 & 2 - 2010, Gauging Practice: DIN 7164 - 1966 & IS 7859-1975.
Manufacturing Range:
Diameter 0.5 mm - 10mm are supplied in reversible pin type Design.
Diameter 10 mm - 40 mm are supplied in Taperlock Design.
Diameter 40 mm - 100 mm are supplied in Trilock Design.
Diameter 100mm - 300mm are supplied in Plate type design.